引领行业高度,做行业贵族

Leading the height of the industry and being an industry aristocrat

技术突破/Technological Breakthroughs

技术升级/Technology Upgrade

蚯蚓粪液

牛尿液

芦荟液

“肥药高汤”理念/The Concept Of "Fat Medicine High Soup"

按照“食药同源”和“天地人合一”理论体系创立了有机生态农业领域的“肥药高汤”理念,并在此基础上发明了一系列独特的专利、配方、工艺。

公司与中国农业大学王琦教授团队深度紧密合作,建设有“中国农业大学教授工作站”;与南京工业大学叶旭初教授团队深度紧密合作,全面推进有机肥料专利生产设备产业化;公司的核心技术在于秉承华夏文化之精髓,以中医“食药同源”理论以及美食烹饪技巧为基础,创立全新的“蚯蚓粪基质溶液高汤”与“尿液基质溶液高汤”有机肥料理念并付诸于实践,从而有效解决有机肥料肥力低肥效慢的难题,为有机肥替代化肥,实现国家减碳、减废的目标。

清大元农基于蚯蚓粪的液体肥机制溶液的生产方法
基于蚯蚓粪的液体肥机制溶液的生产方法
清大元农一种旋流降堵装置
一种旋流降堵装置
清大元农一种环保高效有机肥腐熟设备
一种环保高效有机肥腐熟设备
清大元农一种高含水量猪粪循环利用处理系统
一种高含水量猪粪循环利用处理系统
清大元农一种清洁环保农畜牧业废弃物腐熟设备
一种清洁环保农畜牧业废弃物腐熟设备
清大元农一种自动化腐熟农畜牧业废弃物生产系统
一种自动化腐熟农畜牧业废弃物生产系统

专利技术/Patent Technology

清大元农一种环保高效有机肥腐熟设备
一种环保高效有机肥腐熟设备
清大元农一种好氧腐熟尿液的抛混气装置
一种好氧腐熟尿液的抛混气装置
清大元农一种好氧腐熟尿液的热混气装置
一种好氧腐熟尿液的热混气装置
清大元农一种好氧腐熟尿液的生产系统
一种好氧腐熟尿液的生产系统
清大元农一种好氧腐熟尿液的刺混气装置
一种好氧腐熟尿液的刺混气装置
清大元农一种好氧腐熟尿液的冲混气装置
一种好氧腐熟尿液的冲混气装置

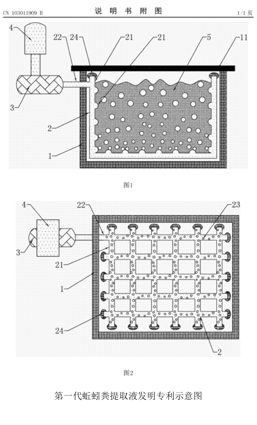
第一代蚯蚓粪 提取液提取技术

自 2009 年清大元农成立,就注重核心技术的开发与研究。在 2013 年,清大元农获得“基于蚯蚓粪的液体肥基质溶液的生产方法”的发明专利,专利号 ZL 2013 1 0005307.6。这是清大元农的第一个独立自主知识产权成果,也 是第一代蚯蚓粪提取液的提取技术,更是市场上第一个蚯蚓粪提取液为基质有机液体肥。

第一代蚯蚓粪提取液发明专利示意图

第二代蚯蚓粪 提取液提取技术

经过六年的生产应用,发现第一代蚯蚓粪提取液的提取技术存在激荡进气不均,限制了提取液的品质,同时成本偏高。2019年,清大元农改进了第一代蚯蚓粪提取液的提取技术。获得 “一种蚯蚓粪便基质液液体肥基液均衡式进气激荡装置”实用新型专利,专利号ZL 2019 2 0425961.5。 第二代蚯蚓粪提取液提取技术改进了第一代技术的不足,提高了蚯蚓粪提取液及其蚯蚓液体肥的产品品质,同时降低了成本。

第二代蚯蚓粪提取液发明专利示意图

清大元农人的研发脚步从来就不会停止。同时为了应对市场上对清大元农技术的抄袭和窃取,在清大元农技术发明人、创始人夏靖友博士的带领下,利用夏靖友博士获得的国家科技进步三等奖的湍流研究成果作为理论基础,彻底革新了蚯蚓粪提取液的提取技术。提取技术的原理、提取设备的构造以及蚯蚓粪提取液的品质和提取效率都进行了全面升级,取得了重大突破。

此外,清大元农致力于确保微生物菌群得到充分激活并达到饱和状态。经过夏靖友博士的不懈努力,第三代提取技术成功问世,蚯蚓粪提取液的品质和应用效果达到国内国际领先高度。

第三代蚯蚓粪提取液技术

在激荡池中,通过该装置将蚯蚓粪、水、气三者形成高速、立体、全方位的纵横交错的湍流流态。这种湍流式激荡能够实现无死角、均衡、稳定的搅拌,从而充分将蚯蚓粪中的微生物菌群、菌群代谢物酶系列、各种微量元素以及氨基酸等营养成分从蚯蚓粪中分离、激活、繁殖、扩充,达到有效状态。然后通过沉淀、取液、过滤等步骤,获得富含微生物菌群、酶系列、各种微量元素和氨基酸等营养成分的蚯蚓粪提取液。

利用这种蚯蚓粪提取液作为基质母液,制作出的有机肥才具有特殊效用,才能够达到养分高、肥效快的效果。

清大元农在蚯蚓粪基质固体有机肥的研究方面取得了突破,成功研制出“一种蚯蚓粪基质高氮有机肥及其制备方法”、“一种蚯蚓粪基质高钾有机肥及其制备方法”、“一种蚯蚓粪基质高磷有机肥及其制备方法”。这些独创的技术为清大元农完善了从蚯蚓提取液基质液体肥系列到蚯蚓粪基质固体有机肥系列的发展,构成了蚯蚓粪有机肥的体系,也是有机肥领域的首创。

蚯蚓粪的神奇作用得到全世界的公认

清大元农人对蚯蚓粪的研究没有停下脚步,继续一路探索前行。与清华大学、中国农业大学、中国科学院、中国农科院、香港理工大学、香港科技大学、新加坡国立大学、澳大利亚悉尼大学、澳大利亚昆士兰大学、新西兰奥克兰大学、新西兰皇家研究院等科研院校的专家、教授进行交流,从理论与实践上探索蚯蚓粪的奇效原理以及在有机种植中的作用。

众多的专家、学者、教授研究发现蚯蚓粪的奇效原理在于其拥有强大、完整、持续和稳定的微生物菌群。这个菌群能够有效地 恢复和修复因多年大量使用化肥、农药、除草剂、激素、抗生素以及过度耕作所导致的土壤板结和微生物生态失衡或破坏。这个微生物菌群属于正态分布菌群,健全、持续、稳定,是自然生态的维护者。

众多有关蚯蚓粪微生物菌群的生态肥效作用报道,为清大元农生产的以蚯蚓粪、蚯蚓粪提取液为基质的一系列有机肥产品品质优势提供了进一步的坚实佐证!

云南农业大学动物医学院教授、博士生导师徐昆龙指出,“研究结果表明,在细菌门水平上厚壁菌门为优势菌门,细菌属水平上芽胞杆菌属为优势菌属。分离出的10株细菌中 6株为芽胞杆菌属。”“蚯蚓液体肥料中含大量有益细菌和生防芽胞杆菌,提示蚯蚓液体肥料在调控土壤微生物群落的代谢功能和结构方面有巨大的潜能。本研究为蚯蚓液体肥料的应用提供了理论依据,在促进植物生长发育、提高植物抗逆性和绿色农业生产方面具有广阔的应用前景。”

有关报道介绍:

有关报道说明: